通知公告

当前位置: 首页 > 通知公告 > 正文

公示|金年会jinnianhuicom2023-2024学年第二学期励能计划项目“优秀小老师”和“优秀学生”称号拟推荐名单公示

发布日期:2024-06-08 作者: 阅读:


根据金年会诚信信誉至上《关于2024年励能计划项目申报的通知》(学工[2024]4号)相关要求,经综合审查学生在金年会jinnianhuicom开展的“明药物常识,掌急救技能”励能计划项目中的整体表现,经组织评议后一致同意,拟推荐以下同学为“优秀小老师”和“优秀学员”。

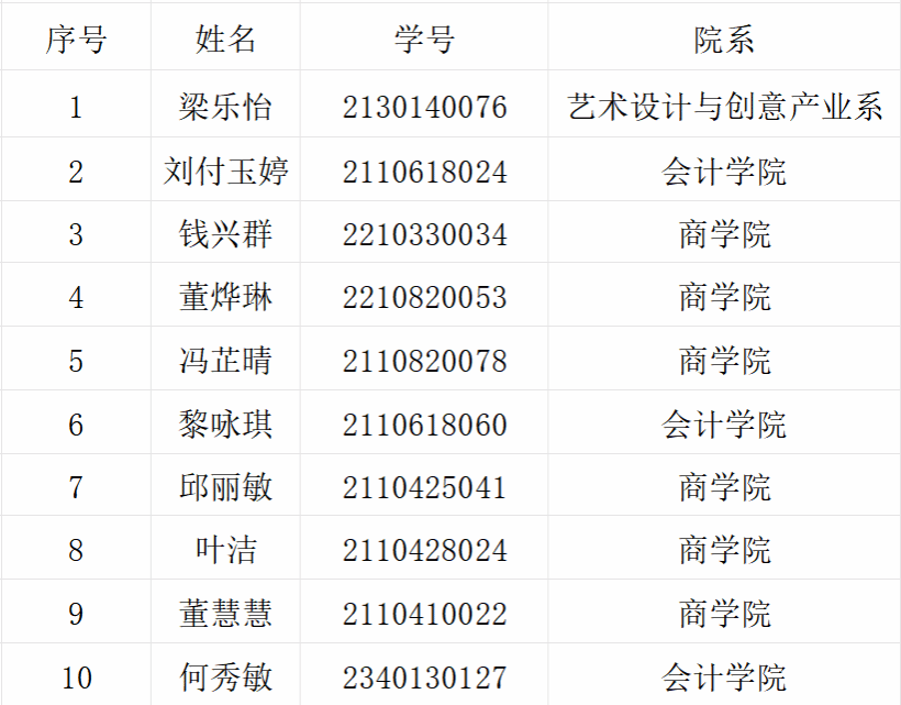
优秀学员名单:

优秀小老师名单:

公示时间:2024年6月8日-6月10日

对于审核结果有异议者,公示期间与金年会jinnianhuicom学院学生工作办公室反映。

联系人:陈老师

联系方式:020-61790396

要求:

①反映必须署报本人真实姓名。

②反映公示对象的情况和问题,应坚持实事求是的原则。

金年会jinnianhuicom

2024年6月8日


地址:广州市从化区温泉大道882号金年会jinnianhuicom

电话:020-61790393

邮编:510970

版权所有 金年会-www.jinnianhui.com|诚信信誉至上